Содержание
Описание и устройство ленточных конвейеров
Конвейеры этого типа широко применяются на различных предприятиях благодаря тому, что подходят для транспортировки практически любых видов грузов (за исключением жидких) в горизонтальном и наклонном направлениях, позволяя организовать разнообразные транспортные схемы. Востребованность данного оборудования также объясняется простотой его конструкции, легкостью в эксплуатации, надежностью и широким диапазоном производительности.
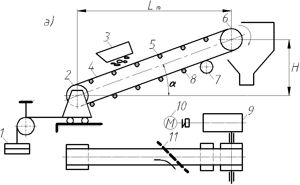
Тяговый элемент ленточного конвейера (лента), огибая направляющие элементы, двигается по стационарным роликовым опорам и приводится в движение приводным барабаном, связанным с электродвигателем через передаточный механизм. Верхняя (рабочая) ветвь ленты, на которой располагается груз, перемещается по желобчатым роликовым опорам. Нижняя часть (ее также называют холостой) опирается на прямые роликовые опоры. Движение осуществляется благодаря силе трения, возникающей между лентой и приводным барабаном при обеспечении достаточного натяжения.
Основные узлы ленточного конвейера включают тяговый элемент, одновременно выполняющий функции рабочего (несущего) элемента, опорные конструкции (стационарные роликовые опоры или жесткий настил), приводное устройство, состоящее из передаточного механизма, электродвигателя и приводного барабана, натяжные элементы (винтовое или грузовое), загрузочные и разгрузочные конструкции, станину, на которой крепятся эти узлы. Ниже описаны некоторые схемы ленточных конвейеров, использующихся на различных предприятиях.
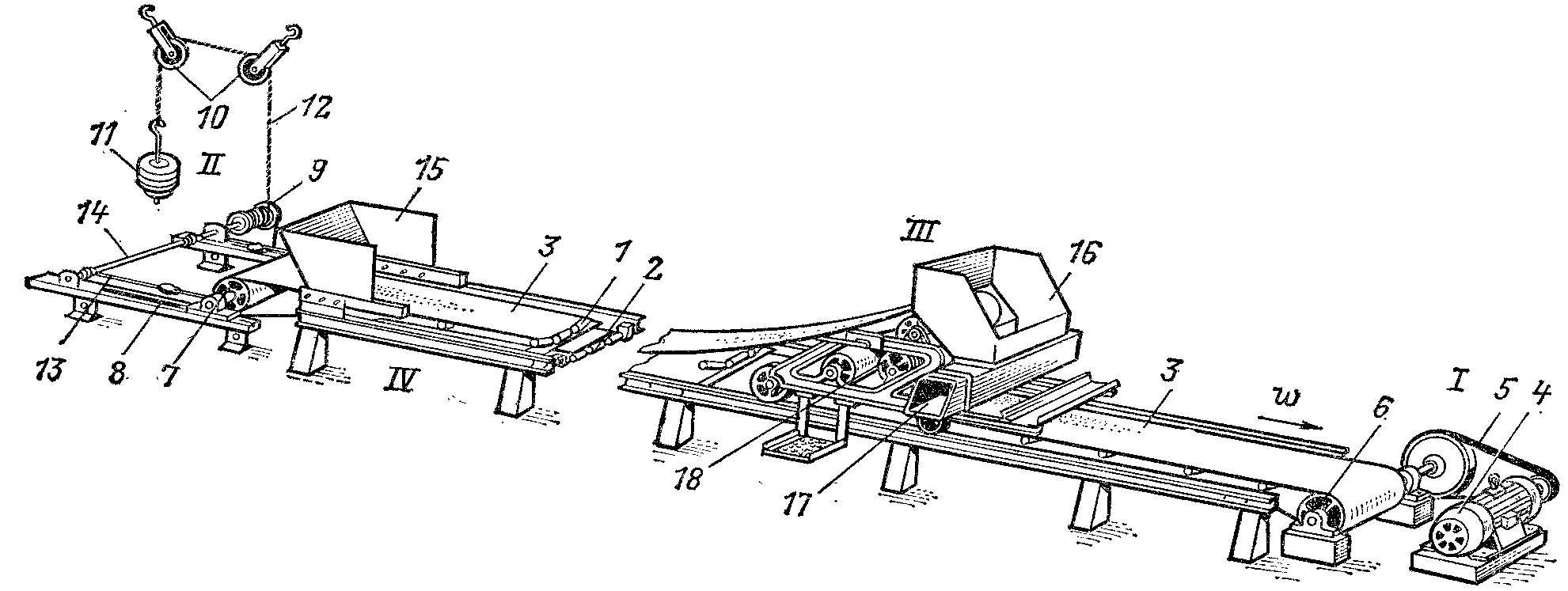
Одна из распространенных разновидностей такого оборудования — горизонтальный ленточный конвейер с передвижным загрузочным устройством. Сыпучие грузы здесь разгружаются через концевой барабан (который одновременно может быть и приводным). Предварительное натяжение обеспечивается горизонтальным грузовым устройством. Длина оборудования может составлять 300 м. Для транспортировки мешков в качестве опорного устройства для поддержки рабочей ветви имеется настил, борта представляют собой направляющие для штучных грузов.
Во вспомогательном производстве часто используются передвижные конвейеры, станина которых устанавливается на ходовых колесах. Натяжное и приводное устройства в таком оборудовании обычно располагаются рядом. Они также часто оснащаются механизмами для изменения высоты подъема транспортируемых грузов и угла их наклона (двухбарабанные устройства с ручным приводом). Для получения выигрыша в силе при этом используется система блоков. Фиксация угла наклона производится с помощью храпового колеса. Расстояние между концевыми барабанами различных моделей может составлять от 5 до 20 м.
Оборудование для перемещения штучных грузов отличается от конвейеров для сыпучих грузов меньшими промежутками между роликовыми опорами. Например, расстояние между опорами рабочей ветви для транспортировки мешков должно составлять 400-500 мм, чтобы мешок располагался минимум на двух опорах. Часто вместо роликовых опор используют сплошной настил.
Для снижения удельной энергоемкости при транспортировке сыпучих грузов с помощью ленточных конвейеров и увеличения их производительности конструкторы разрабатывают новые типы опорных устройств, обладающих более низким коэффициентом сопротивления.
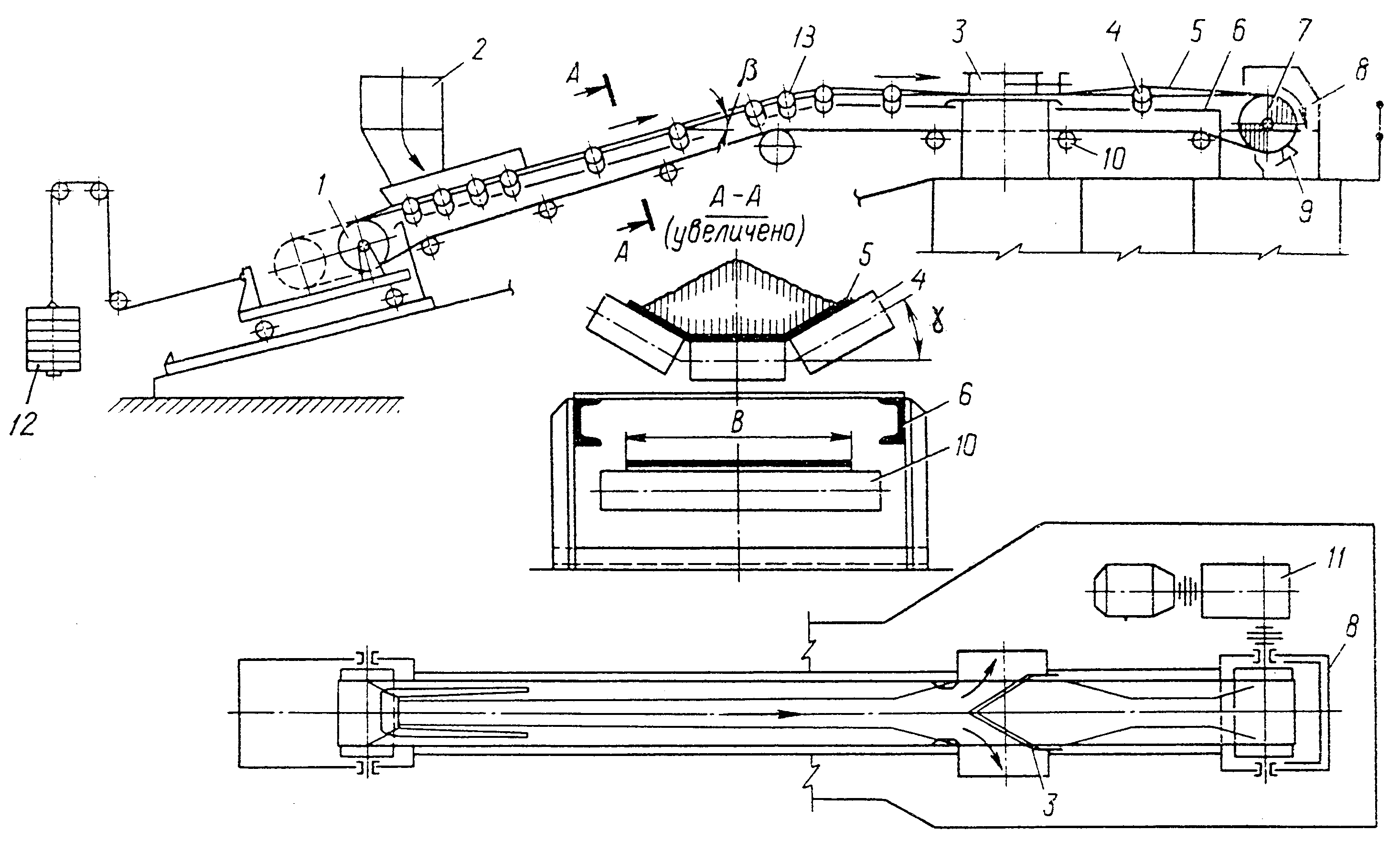
Интересны с этой точки зрения конвейерные ленты на воздушной подушке. Их рабочая ветвь опирается при движении на опорное устройство, выполненное в виде желоба с прорезью по всей длине. Холостая ветвь опирается на плоское металлическое перфорированное дно. Под ним располагается воздухораспределительная коробка, в нее нагнетается воздух, проходящий затем через перфорированное дно. За счет перепада давления лента приподнимается, а через образовавшийся зазор воздух движется дальше. С рабочей ветвью происходит то же самое. Воздух, проходя через второй зазор, уходит в атмосферу. Такая схема позволяет повысить скорость ленты без увеличения ее износа. Это возможно благодаря тому, что трение ленты о желоб заменяется трением о воздух. В свою очередь, повышение скорости приводит к росту производительности и уменьшению энергозатрат.
Габаритная схема шнекового конвейера | Промвектор
| Диаметр шнекового конвейера | Ø вала | Б | С | Д | Болты | F (мин. ) | G | ЧАС | Дж | K | л | M | Н | P | р |
| 100 | 25 | 9’ – 10-1/2” | 2540 | 38 | 10 | 114 | 25 | 92 | 117 | 95 | 146 | 38 | 124 | 197 | 190 |
150 | 40 | 9’ – 10” | 2540 | 51 | 10 | 150 | 25 | 114 | 143 | 127 | 206 | 38 | 152 | 248 | 254 |
| 230 | 40- | 9’ – 10” | 2540 | 51 | 12 | 200 | 38 | 156 | 200 | 180 | 238 | 40 | 194 | 349 | 330 |
| 300 | 51 60 76 | 11’ – 10” 11’ – 9” 11’ – 9” | 3000 | 51 76 76 | 16 | 270 | 40 | 197 | 219 | 225 | 310 | 51 | 248 | 438 | 431 |
| 350 | 51 60 76 | 11’ – 9” | 3000 | 76 | 16 | 290 | 40 | 235 | 276 | 257 | 343 | 51 | 286 | 499 | 483 |
| 400 | 76 | 11’ – 9” | 3000 | 76 | 16 | 340 | 76 | 270 | 305 | 283 | 377 | 64 | 321 | 533 | 533 |
| 450 | 76 89 | 11’ – 9” 11’ – 8” | 3000 | 76 102 | 16 | 370 | 76 | 308 | 143 | 314 | 16 | 64 | 371 | 616 | 610 |
| 500 | 76 89 | 11’ – 9” 11’ – 8” | 3000 | 76 102 | 18 | 390 | 57 | 343 | 381 | 340 | 406 | 64 | 406 | 667 | 660 |
| 600 | 89 | 11’ – 8” | 3000 | 102 | 18 | 440 | 57 | 419 | 460 | 390 | 508 | 64 | 483 | 768 | 762 |
| 750 | 102 | 11’ – 8” | 3000 | 102 | 18 | 520 | 64 | 495 | 546 | 467 | 762 | 76 | 571 | 965 | 914 |
| 900 | 114 | 11’ – 7” | 3000 | 114 | 18 | 600 | 64 | 570 | 610 | 543 | 762 | 76 | 648 | 1118 | 1092 |
Инженерная поддержка
Нужна информация о продукте, услуге или есть вопрос? Напишите нашей команде.
Отправить запрос
Коммерческий отдел
Вы знаете, что вам нужно, но у вас остались вопросы или сомневаетесь? Свяжитесь с нами
8 903 886 54 24
Отправить запрос
12 месяцев
гарантия на все работы
до 11 дней
изготовление | ремонт шнеков
Доставка
по России и Москве
8 903 886 54 24
ООО «Промвектор»
ИНН 3123442195
г. Белгород,
ул. К. Заслонова, 173, офис 1
Режим работы:
Ежедневно: с 8-00 до 17-00
Выходные: Суббота, Воскресенье
Telegram
Продукция
Витки шнеков
Ремонт шнеков
Шнеки на заказ
Ресурсы
2022 © ООО «Промвектор»
Карта сайта
Отправляя форму я даю согласие на обработку своих персональных данных
Diagram > Детали винтовых конвейеров
Винтовые конвейеры представляют собой надежное и экономичное решение для обработки сыпучих материалов.
С деталями, стандартизированными CEMA, ваш винтовой конвейер может обеспечить почти бесконечный срок службы, заменяя детали по мере их износа или до того, как они изнашиваются. Используйте эту схему, чтобы найти нужные детали, узнать о них больше и купить все на месте.
Выбрать компонент Торцевая накладка Нагнетание/вход Болтовое соединение Нагнетательное Болтовое соединение желобаПлита Торцевой фланецУплотнительное болтовое соединениеКонцевое уплотнение валаПодшипник валаХвостовой валВпускной клапанКрышкаБолтовое соединение крышкиПодвесной подшипникПодвескаСоединительный валВинтСоединительный болтПриводной болтВинтовой привод конвейера
Выберите компонент для получения дополнительной информации
Стыковая лента
Стыковая лента винтового конвейера является неотъемлемой частью системы покрытия. Стыковая планка используется на каждом стыке крышки, чтобы свести к минимуму запыление и обеспечить герметичность при атмосферных воздействиях. Стыковая планка специально разработана для того, чтобы принимать ту же прокладку, что и фланец желоба, для простоты сборки.
SCP предлагает стыковые ремни для винтовых конвейеров любого размера.
View Products
Болтовое соединение нагнетательного/входного конвейера
Болтовое соединение нагнетательного и впускного шнекового конвейера используется для соединения соседних винтовых конвейеров посредством стандартного фланцевого соединения. При правильном затягивании эти болты обеспечивают достаточное усилие зажима для обеспечения надежности этих соединений. SCP предлагает комплекты болтовых соединений на входе и выходе для всех стандартных диаметров винтовых конвейеров.
View Products
Разгрузочный конвейер
Разгрузочный шнековый транспортер предварительно рассчитан для максимального увеличения площади поперечного сечения на выходе продукта. Разгрузка стандартизирована в зависимости от диаметра шнека и соответствует схеме входа, чтобы можно было соединить болтами последовательные шнековые конвейеры. SCP предлагает стандартные входы для винтовых конвейеров любого диаметра.
View Products
Болтовое крепление желоба
Болтовое крепление желоба винтового конвейера используется для соединения соседних желобов вместе или желобов с концами желоба через концевые фланцы пластин. При правильном затягивании эти болты обеспечивают достаточное усилие зажима, чтобы удерживать желоба на месте. SCP предлагает комплекты болтового соединения желоба для винтовых конвейеров всех стандартных диаметров.
View Products
Желоб
Желоб винтового конвейера представляет собой корпус винтового конвейера и основную поверхность, по которой движется продукт. Корыто изготовлено из стального листа и имеет необходимую форму. Наиболее распространенным является желоб U-образной формы, который позволяет легко закручивать крышки с помощью встроенного фланца крышки. SCP предлагает желоба всех стандартных диаметров винтовых конвейеров.
Просмотр продуктов
Торцевой фланец с пластиной
Концевой фланец с пластиной винтового конвейера используется для соединения желоба с соседними желобами или концами желоба.
CNC обожжен из толстолистовой стали с торцевыми фланцами стандартного фланца CEMA, обеспечивающими простое и надежное болтовое крепление. Концевой фланец с пластиной можно приобрести отдельно для укорачивающих желобов, и он входит в комплект поставки на каждом конце стандартных желобов. SCP предлагает плоские торцевые фланцы для каждого стандартного диаметра винтового конвейера.
View Products
Уплотнительные болты
Уплотнительные/хвостовые болты винтового конвейера используются для крепления хвостового подшипника и уплотнения вала винтового конвейера к стандартному концу желоба. Болты проходят через конец желоба, уплотнение вала и задний подшипник. При правильном затягивании эти болты обеспечивают достаточное усилие зажима для фиксации хвостового вала винтового конвейера и уплотнения. SCP предлагает комплекты приводных болтов для всех стандартных размеров валов.
Просмотр продуктов
Конец желоба
Конец желоба винтового конвейера служит ограждением, опорой конвейера, опорой шнека.
Конец желоба крепится к обоим концам шнекового конвейера, вверху имеет фланец для поддержки крышки, внизу действует как опора для поддержки конвейера, а посередине имеет стандартные болтовые соединения для приводов шнекового конвейера, торцевые подшипники и уплотнения вала. . SCP предлагает концы желобов для винтовых конвейеров любого размера и в нескольких различных конфигурациях в зависимости от используемого подшипника или привода.
Просмотр продуктов
Уплотнение вала
Уплотнения вала винтового конвейера используются для предотвращения утечки материала при проникновении вала ведущего или хвостового вала через конец желоба. Уплотнения вала, которые часто упускают из виду до тех пор, пока не возникнет проблема, доступны в самых разных конфигурациях, от простых пластинчатых уплотнений до более сложных механических уплотнений, таких как основное уплотнение SCP. SCP предлагает наиболее распространенные уплотнения вала для винтовых конвейеров для всех стандартных размеров вала.
Просмотр продуктов
Подшипник вала
Подшипники винтовых конвейеров используются для поддержки привода и хвостовой части шнека. Шнековый конвейер обычно имеет встроенный подшипник со стороны привода. Хорошей практикой является использование шарикоподшипника в хвостовой части винтового конвейера, чтобы учесть любое биение или смещение шнека. Фланцевый подшипник является наиболее распространенным и экономичным. SCP предлагает подшипники как для ведущей, так и для хвостовой части валов всех стандартных размеров.
Просмотр продуктов
Хвостовой вал
Хвостовой вал винтового конвейера используется для поддержки неприводного конца шнека, также называемого хвостовой частью. Хвостовой вал имеет отверстие, соответствующее винту, и имеет достаточную длину, чтобы проходить от винта через конец желоба, через уплотнение вала и к шарикоподшипнику. SCP предлагает хвостовые валы всех стандартных размеров.
View Products
Впускное отверстие
Впускное отверстие винтового конвейера предварительно рассчитано для максимального увеличения площади поперечного сечения подачи продукта. Входное отверстие стандартизировано в зависимости от диаметра шнека и соответствует схеме разгрузки, что позволяет соединить последовательные винтовые конвейеры вместе. SCP предлагает стандартные входы для каждого диаметра винтового конвейера и удобную крышку с уже установленным входом для легкой сборки.
Просмотр продуктов
Крышка
Крышка шнекового конвейера является одной из наиболее важных функций, но иногда упускается из виду. Крышка служит ограждением для защиты от пыли, проникновения влаги и, что наиболее важно, в качестве защитного барьера для защиты операторов и обслуживающего персонала. Крышка имеет стандартную длину 10 футов для 6-дюймовых и 9-дюймовых конвейеров и 12-футовую длину для конвейеров 12 дюймов и выше и может быть легко укорочена в полевых условиях.
SCP предлагает крышки для винтовых конвейеров любого размера.
Просмотр продуктов
Болтовое крепление крышки
Крышки винтового конвейера можно прикрепить к желобу с помощью нескольких различных вариантов крепления. Самый надежный способ — с помощью болтов, хотя на некоторых предприятиях используются винтовые хомуты. Болты обеспечивают наибольшую защиту для операторов и обслуживающего персонала, поскольку они не будут ослаблены вибрацией и требуют инструмента для ослабления и снятия крышки. Большинство болтов просверливаются в центрах 12 или 24 дюйма по обеим сторонам крышки по всей длине. Расстояние может быть изменено в соответствии с конкретными потребностями. SCP предлагает предварительно упакованные комплекты болтовых соединений для винтовых крышек для 10 футов (6 дюймов и 9 дюймов).дюймов) и 12 футов (12 дюймов и выше).
Просмотр продуктов
Подшипник подвески
Подшипники подвески винтового конвейера представляют собой подшипники скольжения, используемые для поддержки длинных пролетов винтов.
Подвесные подшипники доступны в широком диапазоне материалов и в нескольких конфигурациях. Наиболее широко используется стиль 226, иногда называемый 220, с материалом конструкции из дерева, UHMW и твердого железа. Подшипники подвески требуют более низкой сквозной нагрузки, чтобы продукт проходил под подшипником подвески, а не в него. Они являются обязательной частью любого списка запасных частей. SCP предлагает подвесные подшипники моделей 216 и 226 из самых разных материалов.
Просмотр продуктов
Подвеска
Подвески винтовых конвейеров используются для поддержки шнека и позволяют использовать более длинные шнековые конвейеры, чем можно было бы сделать с цельным шнеком. Подвеска доступна в двух основных конфигурациях: 216 и 226. Наиболее популярным является тип 226. Подвеска зависит от диаметра каждого винта и вала. SCP предлагает подвески любого типа для всех стандартных диаметров винтовых конвейеров и размеров валов.
Просмотр продуктов
Соединительный вал
Соединительные валы винтовых конвейеров используются для соединения нескольких винтов друг с другом на каждой подвеске, чтобы увеличить длину винтового конвейера по сравнению с тем, что может быть достигнуто с помощью цельного шнека.
Существует несколько типов соединительных валов, наиболее распространенными из которых являются полноразмерные. SCP предлагает стандартные и закаленные соединительные валы для всех стандартных размеров валов винтовых конвейеров.
View Products
Шнек
Шнек является сердцевиной винтового конвейера. Винт вращается, чтобы обеспечить поступательное движение транспортируемого продукта. Винты доступны в различных конфигурациях, толщинах, диаметрах и длинах. Винтовой виток может быть выполнен цельным геликоидом или сегментирован с секционным витком. Геликоид является наиболее распространенным и экономичным, поскольку для любых специальных материалов, шагов, толщин или диаметров требуется сечение. SCP предлагает широкий выбор винтов стандартных диаметров, длины и посадки на вал.
Просмотр продуктов
Соединительный болт
Соединительные болты винтового конвейера являются неотъемлемой частью работы винтового конвейера.
Соединительные болты специально разработаны для управления выходным крутящим моментом привода винтового конвейера. Доступные в нескольких вариантах прочности и специально рассчитанные на сдвиговую нагрузку между валом и шнеком, эти болты работают в гораздо более сложных условиях, чем другие болты на шнековом конвейере. Соединительные болты обычно являются элементом, ограничивающим крутящий момент в винтовом конвейере, а значит, они изнашиваются первыми, защищая гораздо более дорогие компоненты. Соединительные болты обязательны для любого списка запасных частей. SCP предлагает стяжные болты для любого стандартного соединения вала и трубы.
View Products
Болтовое крепление привода
Болтовое крепление привода шнекового конвейера используется для крепления привода шнекового конвейера к стандартному концу желоба с использованием адаптера шнекового конвейера. Болты проходят как через конец желоба, так и через переходник винтового конвейера.
При правильном затягивании эти болты обеспечивают достаточное усилие зажима для надежной фиксации привода винтового конвейера. SCP предлагает комплекты болтовых соединений для каждого предлагаемого размера редуктора.
View Products
Привод винтового конвейера с карданным валом
Привод винтового конвейера представляет собой конфигурацию двигателя и редуктора с адаптером винтового конвейера и карданным валом. Винтовой конвейер загоняет болт непосредственно в конец желоба винтового конвейера и в шнек. Они используются для привода винтового конвейера и сконфигурированы так, чтобы точно соответствовать требованиям по мощности и скорости вращения для транспортной системы. SCP предлагает несколько стандартных конфигураций дисков с наиболее распространенными HP и RPM и может поставляться в течение 2 недель.
Просмотр продуктов
Конвейерный тостер для хлеба JT1, 120 В
CT2-120350
1 596,70 $ Старая цена
Этот конвейерный тостер для хлеба Vollrath® JT1 стабильный, надежный и энергоэффективный.
Мощные кварцевые нагревательные элементы быстро реагируют, а принудительная конвекция обеспечивает равномерное поджаривание. Регулятор скорости помогает достичь желаемых результатов. Режим ожидания снижает энергопотребление до 75 процентов в периоды медленной работы и быстро возвращает устройство на полную мощность, когда это необходимо. Стандартное отверстие для продуктов шириной 1,5 дюйма отлично подходит для ломтиков хлеба или половинок булочек, а конвейер шириной 10,5 дюймов может вмещать до 350 изделий в час. Прочный корпус из нержавеющей стали и алюминированной стали рассчитан на длительный срок службы, а прочные ножки позволяют регулировать уровень, обеспечивая максимальную устойчивость на любой столешнице.
Информация о модели
| Наименование | Значение |
|---|---|
| Модель | ДТ1 |
| УПК | 671080683317 |
Размеры устройства
| Наименование | Значение |
|---|---|
| Габаритные размеры (В) | 14,5 х 16,5 х 13,125 |
| (Ш) Ширина (В) | 14,5 |
| (Г) Глубина (В) | 16,5 |
| (В) Высота (В) | 13. 12 |
| (WL) Ширина между ножками | 12.437 |
| (DL) Глубина между ножками | 11.312 |
| Размеры отверстия изделия (дюймы) | 1,375 |
| (DB) Глубина корпуса (IN) | 14,75 |
| Ширина конвейера (дюйм) | 10,5 |
| Габаритные размеры (см) | 36,8 х 41,9 х 33,3 |
| (Ш) Ширина (см) | 36,8 |
| (D) Глубина (см) | 41,9 |
| (В) Высота (см) | 33,3 |
| (WL) Ширина между ножками (см) | 31,6 |
| (DL) Глубина между ножками (см) | 28,7 |
| Размеры отверстия изделия (см) | 3,2 |
| (DB) Глубина корпуса (см) | 37,5 |
| Ширина конвейера (см) | 26,7 |
Электрика
| Наименование | Значение |
|---|---|
| Ампер | 13,3 |
| Длина шнура (дюйм) | 54 |
| Длина шнура (см) | 140 |
| Гц | 60 |
| Заглушка | НЭМА 5-15P |
| Напряжение | 120 |
| Вт | 1600 |
Строительство
| Наименование | Значение |
|---|---|
| Строительный материал | Нержавеющая сталь |
| Строительный материал 2 | Алюминизированная сталь |
| Строительный материал 3 | Электрические компоненты |
| Столешница или вставная | Столешница |
| Тип материала | Металлы |
| Пищевой | Стандартный хлеб |
Размер партии ящиков
| Имя | Значение |
|---|---|
| Лот ящиков | 1 |
| Ширина корпуса | 19 |
| Высота корпуса | 16 |
| Длина корпуса | 23 |
| Кубический ящик (футы) | 4,05 |
| Вес партии коробок (фунты) | 43 |
Детали продукта
| Имя | Деталь № | Цена |
|---|---|---|
| 2PK ТЕПЛОВОЙ ЭЛЕМ 11-3/8 60 В 400 Вт | 59843 | 149,10 $ |
| УПРАВЛЕНИЕ СКОРОСТЬЮ 250 ОМ CT2 | Б200902 | 57,30 $ |
| ПОДШИПНИК В СБОРЕ 5/16 | Б201100 | 23,90 $ |
| ЛЕНТОЧНЫЙ КОНВЕЙЕР 10,5″X25″ | B204272 | 130,20 $ |
| CT2 ЭТИКЕТКА ПРАВАЯ СТОРОНА | B204274 | 6,30 $ |
| ВЫДВИЖНОЙ ПОДДОН | B300115 | 25,60 $ |
| ИЗОГНУТАЯ ПЕРЕДНЯЯ ЧАСТЬ CT2/CT2H | B300133 | 28,70 $ |
ПРУЖИНА . 038″ ДИАМ. 1.500″ ДЛИНА | B400261 | $3,00 |
| НОЖКИ ЧЕРНЫЕ 1″ 1/4-20 | B400300 | 15,60 $ |
| 14 GA ПРЯМОЙ НАТЯЖИТЕЛЬ | B400320 | 6,60 $ |
| КЛЕММНАЯ БЛОК 2 ПОЛОЖЕНИЕ | B401034 | 5,60 $ |
| ШНУР ПИТАНИЯ 14/3 60″ 5-15 ВИЛКА | B401052 | 56,30 $ |
ШНУРНЫЙ ВЕНТИЛЯТОР HP-75. 24-A | B401060 | 11,90 $ |
| ПЕРЕКЛЮЧАТЕЛЬ СБРОСА | В401100 | 40,80 $ |
| ПОВОРОТНЫЙ ПЕРЕКЛЮЧАТЕЛЬ ЭНЕРГОСБЕРЕЖЕНИЯ | В401103 | 56,30 $ |
| ПРИВОД 120 В ОБРАТНЫЙ 346 | B401202 | 193,70 $ |
| МОТОР ВЕНТИЛЯТОРА | B401209 | 100,00 $ |
| ЗАЩИТНЫЙ ВЕНТИЛЯТОР | B401220 | 8,50 $ |
| ЗВЕЗДОЧКА 25B17-8MM | B401300 | 26,80 $ |
| ПРИВОДНОЙ ВАЛ 10,5″ | B401340 | 68,90 $ |
| НАКЛАДНОЙ ВАЛ 10,625″ CT2 | B401344 | 78,70 $ |
| ПЕРЕДНИЙ ПОДШИПНИК ПОДПРУЖИНЕННЫЙ | B401352 | 23,70 $ |
| ПРИВОД ЦЕПНОЙ ЛЕСТНИЦЫ 18,5″ | B401389 | 43,20 $ |
| ЭТИКЕТКА УПРАВЛЕНИЯ CT2 | В401400 | 14,70 $ |
| СЕРЕБРЯНАЯ РУЧКА | B405018 | 8,00 $ |
| СЕРЕБРЯНАЯ НАЖИМНАЯ РУЧКА С ВИНТОМ | B405019 | 14,70 $ |
Информация о гарантии
Условия продажи
Загрузка продукта
Тостер, конвейер, модель JT1/JT1H — Технические характеристики (на английском языке)
Тостер, конвейер, модель JT1/JT1H — Руководство по эксплуатации (многоязычное)
Тостер, конвейер, модель JT1, артикул CT2-120350 — запасные части (на английском языке)
Инструкции по замене трубки нагревателя тостера, конвейера, духовки, конвейера (на английском языке)
Тостер, конвейер, модель JT1/JT1H — электрическая схема
САПР/РЕВИТ
Передний
CT2-120350_E
План
СТ2-120350_П
Сторона
CT2-120350_S
Ревит
QF_Vollrath_CT2-120350.
)
12
038″ ДИАМ. 1.500″ ДЛИНА
24-A